57,39 Kč
47,44 Kč
Sada pojezdů pro profil 68x68 mm s plastovými kolečky, s náběhovou kladkou a držákem náběhu
produkt nedostupný
přidat do seznamu přání
Popis
Sada pojezdových vozíků pro profil 68×68 s náběhovou kladkou a držákem
Kompletní sada pojezdových vozíků pro samonosné posuvné brány s profilem 68×68 mm — hotová sestava zajišťující plynulý, tichý chod křídla, stabilitu celé konstrukce a komfort každodenního používání. Kvalitní materiály z galvanicky pozinkované oceli a propracované uspořádání osmi kladek zaručují rovnoměrný chod a dlouhou životnost systému.

Obsah sady
- Pojezdový vozík — 2 ks
- Náběhová kladka — 1 ks
- Držák náběhu (náběhové lůžko) — 1 ks
Sada tvoří kompletní vybavení pojezdového systému samonosné brány — stačí namontovat díly na základ a sloupek a získáte plně funkční posuvný systém.
Pojezdové vozíky — srdce systému
Dva pojezdové vozíky zajišťují vedení a podpírání křídla brány. Každý je vybaven 8 kladkami z plastu rozmístěnými ve dvou úrovních, což zajišťuje rovnoměrné vedení a stabilizaci křídla. Plastové kladky pracují tiše a nevyžadují časté mazání, přičemž kuličková ložiska 6201 RS s gumovým těsněním zaručují nízký odpor při pojezdu a ochranu před nečistotami.

Technické parametry pojezdového vozíku
- Materiál konstrukce: galvanicky pozinkovaná ocel
- Pojezdový systém: 8 plastových kladek ve dvou úrovních
- Ložiska: kuličková 6201 RS
- Systém: 68×68 mm
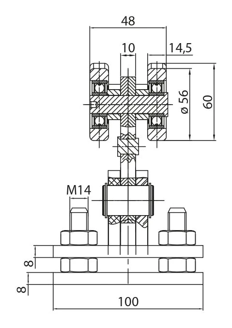
- Rozměry základny: 200 × 100 × 8 mm
- Celková šířka uspořádání kladek: 48 mm
- Valivý průměr kladky: 56 mm
- Vnější průměr kladky: 60 mm
- Šířka jednotlivé kladky: 14,5 mm
- Tloušťka středního držáku: 10 mm
- Závit seřizovacích šroubů: M14
- Tloušťka desek základny: 2 × 8 mm
- Výška vozíku: 157 mm
- Průměr kladky: 68 mm

Rozměrový výkres zobrazuje průřez pojezdového vozíku s vyznačenými klíčovými rozměry. Dvouúrovňové uspořádání kladek zajišťuje optimální rozložení sil a dvojitá deska základny s regulací šrouby M14 umožňuje přesné nastavení výšky a svislosti křídla brány po montáži.
Náběhová kladka — stabilizace a ochrana

Náběhová kladka se montuje na začátek samonosné kolejnice. Její ocelová pozinkovaná konstrukce přebírá část zatížení a stabilizuje křídlo, čímž zlepšuje kulturu chodu brány. Spolupracuje s držákem náběhu u sloupku, což usnadňuje spolehlivé dovření a omezuje vibrace. Kladka také snižuje opotřebení pojezdových vozíků a v zimním období minimalizuje vliv sněhu a ledu na chod brány.
- Kompatibilita: systém 68×68 mm
- Povrchová úprava: pozinkované — ochrana proti korozi
Držák náběhu — přesné dovření

Náběhové lůžko vede křídlo a zlepšuje stabilitu celého systému. Montáž je rychlá a jednoduchá — díl se přišroubuje ke spodní části koncového sloupku. Společně s náběhovou kladkou tvoří sestavu, která navádí bránu na sloupek, usnadňuje spolehlivé dovření a omezuje vibrace. Na zadní stěně se nacházejí dva montážní otvory a gumový doraz, který tlumí dojezd křídla.
- Kompatibilita: systém 68×68 mm
- Povrchová úprava: pozinkované
- Doraz: gumový — tlumení dojezdu křídla
Údaje o sadě
- Hmotnost sady: 12,934 kg
- Objem balení: 10 486,88 cm³
- EAN: 5903313208031
- Kompatibilita vodící kolejnice: kolejnice 68×68
Ładowanie tabeli porównawczej...
Ładowanie galerii...
Technické údaje
| Typ produktu | Sada / KIT s příslušenstvím |
| Konstrukce vozíku | Pevná |
| Materiál koleček | Plast |
| Počet koleček [szt.] | 8 |
| Velikost pojezdové lišty | 68x68x3,5 |
| Typ pojezdového systému | Pojezdový systém |
Bezpečnost
Zobrazují se všechny recenze (pozitivní i negativní) podle omezení počtu na platformě. Ověřujeme, zda pocházejí od zákazníků, kteří si produkt zakoupili. Více informací naleznete na naší stránce se zásadami komentování.